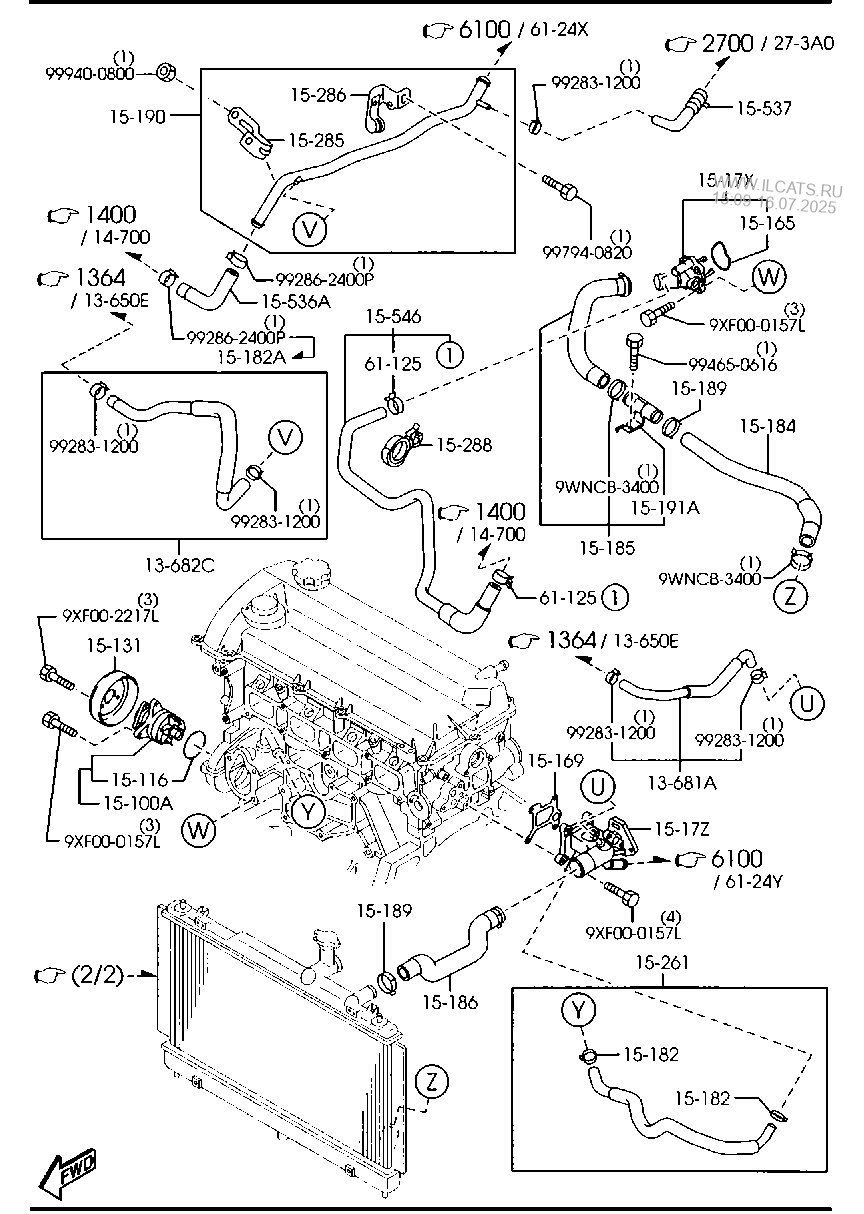
34 2006 mazda 6 cooling system diagram
The Cooling Fan Assembly is an essential part of a vehicle's cooling system. It must complement the rest of the cooling system by efficiently cooling the radiator and/or condenser. A failure in... OE quality at an affordable price Direct replacement. $42.45 - $626.26. TYC® Engine Coolant Radiator. 2. Jan 28, 2020 · N80 – Activated charcoal filter system solenoid valve 1 (from May 2006) V144 – Fuel system diagnostic pump (BGQ,BGP) N345 – Exhaust gas recirculation cooler changeover valve N381 – Exhaust gas recirculation cooler changeover valve 2 (up to May 2006) N276 – Fuel pressure regulating valve (from May 2006)
Download now. 9.99. Summary of Content. 2006 Mazda RX-8 Service Highlights FOREWORD This manual explains components, system operations and functions for the Mazda RX-8. For proper repair and maintenance, a thorough familiarization with this manual is important, and it should always be kept in a handy place for quick and easy reference.

2006 mazda 6 cooling system diagram
Service Training BT-50 01-29 fFuel System WL-C Engine Fuel Injectors • The WL-C engine uses solenoid valve-type fuel injectors, which are directly controlled by the PCM. The operation is similar to the Mazda3 (1.6 MZ-CD). • The fuel injectors are mounted with brackets to the cylinder head. Jan 26, 2021 · Fuse box diagrams for Volkswagen Jetta 6 (NF; 2012, 2013, 2014, 2015, 2016, 2017, 2018 and 2019 model year). Photos, layout and assigment of electrical fuses and relays. Fuse box diagram (location and assignment of electrical fuses and relays) for Mazda B-Series B2300, B3000, B4000 / Fighter / Proceed / Bravo (2002-2006).
2006 mazda 6 cooling system diagram. For the Mazda 6 (GG, GY) 2002, 2003, 2004, 2005, 2006, 2007, 2008 model year. Fuse box in passenger compartment. fuse box location. Shipping providers are experiencing delays due to heavy volume and service disruptions. Products may take longer to arrive than normal. If you have any questions, please email us or call our customer service team at 781-917-1562 HOW TO BLEED COOLING SYSTEM ON MAZDA 2 3 5 6 CX-7 CX-5 CX-3 MX-5If you have Mazda and you need to bleed the cooling system we will explain how we do that on ... University Volkswagen Mazda (DBA: Real Mazda Parts) has made every effort to provide accurate schematics, part information, and diagnostic advice. However, we can not be held responsible for errors, part discontinuations, or incorrect information. Please be advised: All parts are subject to warehouse order due to availability.
Mazda Tribute Workshop Service Repair Manual 2001-2006 (EN-DE-FR) (6,000+ Pages, Searchable, Printable, Indexed, PDF) 2001-2004 MAZDA TRIBUTE/ESCAPE Service Manual DOWNLOAD. 2001-2006 Mazda Tribute Factory Service Repair Manual. Mazda Tribute 2001-2007 Full Service Repair Manual. Diagram of OEM COOLING SYSTEM. Contains 53 parts priced between $0.86 and $658.94. Fits Mazda 5. Gasket. CX-7. B2300. Mazda5. Mazda6. 2.3l. Tribute hev. 2.5L, 2011-13. 2.5L, 2009-2010. Without mazdaspeed. Without turobcharger. 2.0L without skyactiv. The Mazda 2.0, 2.3, and 2.5 L engines can get air into the coolant system, which causes a "no heat" symptom when the engine is idling. At highway speeds, th...
heres a diagram to help you, loosen the bottom bolt a few turns then loosen the top bolt then loosen adjusting bolt to loosen belt, use the adjuster to tighten the new belt then tighten top and bottom bolts, hope this helps, Read full answer. Oct 04, 2010 • 1997 Mazda 626. 0 helpful. 1 answer. I have a 2006 mazada 3 and when i go over 7 ... Cooling system 29 30 Cooling System Flow: EGR Coolers • Cooled coolant flows out of the supply port of the front cover where it is routed to the horizontal cooler at the left rear side of the engine. • The coolant then exits the horizontal cooler and is immediately routed into the vertical cooler. The coolant 4. Flush the cooling system with water until all traces of color are gone. 5. Let the system drain completely. 6. Tighten the radiator drain plug. 7. Fill the coolant into the reservoir up to the FULL mark on the coolant reservoir. 8. Fully install the radiator cap. Caution Mazda 6 2006, Engine Cooling Fan Assembly by gpd®. The fan assembly is an important part of the engine and A/C cooling systems. The fan assembly pushes/pulls air across the radiator and condenser to help remove heat. A failing fan...
Buy a 2006 Mazda 6 Water Pump at discount prices. Choose top quality brands A1 Cardone, AC Delco, AISIN, API, Airtex, Aisin, Beck Arnley, CARQUEST, DIY Solutions, DNJ Rock, Dayco, GMB, Gates, Genuine, Graf, Metrix, Motorcraft, NPW, Original Equipment, SKP, TRQ, US Motor Works. ... Be sure to use the proper coolant to maximize cooling system ...
Miata mx5. From 9/1/06. Mazda5. Without mazdaspeed. To 3/8/06. 2.0L without skyactiv. Mazda3. 2.0l. Without skyactiv-g engine.
With this Mazda 6 Workshop manual, you can perform every job that could be done by Mazda garages and mechanics from: changing spark plugs, brake fluids, oil changes, engine rebuilds, electrical faults. and much more. The Mazda 6 Misc Documents Wiring Diagram PDF includes: detailed illustrations,
Jan 12, 2015 · I want to be helped with a wiring diagram of an ECU that incorporates an immobilizer, and the colour coding, then how I can isolate the immobilizer by removing the connections to immobilizer, so that I can start the vehicle, for Mazda 6, Atenza, 2008 model #230. W_collins0321@yahoo.com (Monday, 15 February 2021 10:48)
system. 6 In Case of an Emergency Helpful information on what to do in an emergency. 7 Maintenance and Care How to keep your Mazda in top condition. 8 Customer Information and Reporting Safety Defects Important consumer information including warranties and add-on equipment. 9 Specifications Technical information about your Mazda. 10 Index 11 ...
HI, Below is Mazda procedure for your vehicle 1- Fill the engine coolant into the coolant reservoir tank up to the F mark on the coolant reservoir tank. 2- Tighten the cooling system cap. Caution ^ If the coolant temperature becomes too high, stop the engine to prevent it from overheating. 3- Start the engine and idle it until the cooling fan operates. 4- After engine warms up, perform the ...
116 Answers. Re: I need a coolant system diagram 01 mazda tribute. Motor Part Store Motor Parts Wholesale. Motor Part Store Motor Parts Wholesale. motorpartstore.com. Our store has the professional experience on motorcycle parts The merchandise in our warehouse are good in quality We are happy to give you the maximum profit So the price of the ...
RockAuto ships auto parts and body parts from over 300 manufacturers to customers' doors worldwide, all at warehouse prices. Easy to use parts catalog.
(30A) Anti-lock braking system (ABS) or Voltage stabilizer, Stereo, Radio: 5 (15A) Automatic transmission: 6 (30A) Anti-lock braking system (ABS) 7 (5A) Cooling fan motor control unit 1 (7.5A) Washer pump: 8 (15A) Engine management: 9 (5A) Engine management, main ignition circuit relay: 10 (5A) Engine management (15A) Charge or exhaust valve: 11
Mazda 6 (2006 - 2008) - fuse box diagram. Year of production: 2006, 2007, 2008. Fuse block (Engine compartment) Mazda 6 - fuse box - engine compartment
In this article, we consider the first-generation Toyota Tundra (XK30/XK40) Double Cab, produced from 2004 to 2006. Here you will find fuse box diagrams of Toyota Tundra 2004, 2005 and 2006, get information about the location of the fuse panels inside the car, and learn about the assignment of each fuse (fuse layout) and relay.
Fig. 3: Intake Air System Diagram Courtesy of MAZDA MOTORS CORP. INTAKE MANIFOLD VACUUM INSPECTION [LF] 1. Verify that the intake air hoses are installed securely. 2. Disconnect the vacuum hose connecting the intake manifold and the purge solenoid valve (purge solenoid valve side) and install the vacuum gauge. 3. Warm up the engine. 4.
Fuse box diagram (location and assignment of electrical fuses and relays) for Mazda B-Series B2300, B3000, B4000 / Fighter / Proceed / Bravo (2002-2006).
Jan 26, 2021 · Fuse box diagrams for Volkswagen Jetta 6 (NF; 2012, 2013, 2014, 2015, 2016, 2017, 2018 and 2019 model year). Photos, layout and assigment of electrical fuses and relays.
Service Training BT-50 01-29 fFuel System WL-C Engine Fuel Injectors • The WL-C engine uses solenoid valve-type fuel injectors, which are directly controlled by the PCM. The operation is similar to the Mazda3 (1.6 MZ-CD). • The fuel injectors are mounted with brackets to the cylinder head.
0 Response to "34 2006 mazda 6 cooling system diagram"
Post a Comment