Iklan 300x250

39 dump truck hydraulic system diagram

About Press Copyright Contact us Creators Advertise Developers Terms Privacy Policy & Safety How YouTube works Test new features Press Copyright Contact us Creators ... After March 10, 2004 — ELECTRICAL CIRCUIT DIAGRAMS Truck Model: 3200 Start Date: 03/11/2004 Truck Model: 4200 Start Date: 03/11/2004 Truck Mode l: 4300 Start Date: 03/11/2004 Truck Model: 4400 Start Date: 03/11/2004 Truck Model: 7300 Start Date: 03/11/2004 Truck Mode l: 7400 Start Date: 03/11/2004 Truck Model: 7500 Start Date: 03/11/2004 ...

hydraulic hoists 1-2 hydraulic pumps 6-9 hydraulic valves hydraulic hoses hydraulic fittings 3 4 5 hydraulic reservoir tanks 10 power take off (pto) 11-12 wet kit systems 13-16 wet kit ( dump trailer) quote / order sheet 17

Dump truck hydraulic system diagram

Dump truck hydraulic system diagram

Hydraulic parts for fixing and maintaining the hydraulics of Fisher snow plows can be found in the hydraulic section. Fisher mount kits are available for most makes and models, use the eMatch to find the right mount for your vehicle. Shoe kits are available for all models of Fisher plows. And don’t forget our detailed Fisher plow part reference section for finding those answers. challenge so there is enough lift to tilt and dump the load. To accomplish this, the lift will have to accommodate the cylinder to transfer its force through the arms. The calculations predicted that a .5 gpm hydraulic pump would take 62 seconds to lift 500 pounds, dump and lower the load. Initial tests indicated a tilt goes to 39 degrees. Hydraulic Fluid moved into the system is supplied from the hydraulic reservoir (tank). Fluid displaced from the system flows back into the reservoir before being re-circulated through the system. The reservoir is designed to supply an adequate amount of fluid to operate the hydraulic system and to

Dump truck hydraulic system diagram. Dump Trucks Dump Trailers • Neutral lock-out safety cap for use with pull-out cable • 2 line for intermittent duty or 3 line for continuous duty systems • 2 extra long studs for easy installation of pump support bracket on direct mount • Pressure balanced wear plates maintain high pump efficiency throughout all operating ranges • "Dump Truck - Configuring "Hand Throttle" PTO 0", page 115 ... form the basis of the hydraulic system. The pump, which provides the hydraulic pressure and flow to the motor, is the heart of the hydraulic system. All power take-offs covered by this chapter are available factory installed. Some variants can also be ordered. central hydraulic systems. Flow ratings to 11 GPM and pressures to 4350 PSI. Product Brochures MP89-14 & MP93-03 K/L SERIES GEAR PUMPS These are proven performers in thousands of snow and ice control trucks. Simple, rugged, effective and reliable. Sizes, pressures, shaft and mounting options for virtually any central hydraulic system application. For Use With: CH dump pumps. Live Floor Hydraulic Pump. Buyers Product is built tough to handle continuous, high-pressure operations such as a live floor. H50 Series Hydraulic Gear Pump with Keyed Shaft. Is a sturdy, heavy duty bi-rotational pump that can be 2- bolt or 4-bolt mounted. Pump Mounting Bracket for H21 and H50 Series Pumps.

Hydraulic Hardware. Hydraulic Hardware PTO Repair Parts & Cables (74) Clutch Pump Kits & Repair Parts (110) Self-Contained Hydraulic Power Unit (9) Hydraulic Pumps, Fittings, Hoses & Repair Parts (85) Wetline System Components (7) Zacklift Valves & Hardware (49) Electrical Hardware. Electrical Hardware Dump pumps Pumps for refuse vehicles Dry valve pumps Live Pak™ pumps Section 4 ... a truck-mounted, or mobile, hydraulic system operates, what components make up the system, how they work, and why they sometimes fail to perform as expected. Our frame of reference is that of a leading manufacturer and truck. Our THC's have it all: on-site service bays and complete hydraulic, pneumatic components and system coverage. Whether it's a component repair, replacement, or a complete system design and installation, Parker THC is the expert team you can rely on to keep your truck on the road. Mophorn 4 Quart Hydraulic Pump for Dump Trailer Hydraulic Power Unit 12V Hydraulic Pump Single Acting Dump Truck Hydraulic Pump(Plastic, 4 Quart/Single Acting) 3.8 out of 5 stars 32. 4 offers from $213.47. Mophorn Hydraulic Power Unit 6 Quart Hydraulic Pump Single Acting 3200 PSI Max Power Unit for Dump Trailer Car Lifting 12V DC (Steel, 6 Quart/Single Acting) …

(HPU) Hydraulic power units are a hydraulic system with hydraulic actuators (hydraulic cylinders, hydraulic motors) connected to the control valve operation to achieve the operation of the equipment for the adopted oil pressure apparatus. Hydraulic power units come complete with a power section (electric motor, hydraulic pump), the control section (pressure valves, … Provides pressure relief to specific functions in your truck's hydraulic operations. 1 Spool Directional Control Valve. S direct flow where and when needed with reliable precision. Flow Control Valve. Lets you speed up or slow down a function, such as plowing or dumping, for more precise and smooth control. Welcome to the Zip's Used Truck Marketplace. When it's time to upgrade your truck, Zip's Used Truck Marketplace is just the spot to sell, buy, or trade your pre-owned trucks and trailers - directly with your fellow operators! This service is 100% free, providing a platform for person-to-person transactions and conversations.It is our goal to provide a place for industry … HYDRAULIC SYSTEM FOR TRUCKS . United States Patent 3733818 ... FIG. 5 is a schematic diagram of a portion of a second embodiment of the invention; ... The coupling 118 is snapped together at the same time the spreader mechanism 120 is installed in the back of the truck dump body. When the coupling 118 is made to connect the line 116 to the ...

HYDRAULIC PIPING (PUMP TO VALVE) - Dump Truck Komatsu ...

HYDRAULIC PIPING (PUMP TO VALVE) - Dump Truck Komatsu ...

In this video we talk about the common problems that can occur with a dump truck pump and PTO system as well as proper operating procedures. We have several...

Hydraulic Tipper Wiring Diagram - Wiring Diagram

Hydraulic Tipper Wiring Diagram - Wiring Diagram

Only a self-adjusting clutch should be used when replacing a clutch in a hydraulic release system. 2021 Kenworth T800 Trucks For Sale in Coopersburg, PA: 4 Trucks Near You - Find 2021 Kenworth T800 Trucks on Commercial Truck Trader New 2021 KENWORTH T800 Dump Truck for sale in LANDOVER, MD. Our large inventory allows quick shipping of parts for …

MHPS - Hydro-Pneumatic Suspension in an Articulated Dump ...

MHPS - Hydro-Pneumatic Suspension in an Articulated Dump ...

Winch. The diagram shows a winch powered by a hydraulic motor. The directional control valve with built-in relief features optional flow control to control the speed of the winch . The hydraulic pump and motor must be matched to the torque requirements of the winch.

HYDRAULIC PIPING (RETURN LINE) - Dump Truck Komatsu HM400 ...

HYDRAULIC PIPING (RETURN LINE) - Dump Truck Komatsu HM400 ...

A landfill site, also known as a tip, dump, rubbish dump, garbage dump, or dumping ground, is a site for the disposal of waste materials. Landfill is the oldest and most common form of waste disposal, although the systematic burial of the waste with daily, intermediate and final covers only began in the 1940s.In the past, refuse was simply left in piles or thrown into pits; in archeology …

S 38 SX by Schwing

S 38 SX by Schwing

Hydraulic Power Units 12 VDC Dump Truck Snow Plow. Replacement Motors. Small Dump Hydraulic Pumps w/ Manual Valves. Air Shift Cylinder for Hydraulic Pumps w/ Manual Valves. H21-Series Hydraulic Bi-Rotational Pumps. Dual Shaft Hydraulic Pumps. Priority Flow Divider Valves. Selector Valves.

Safari jeep on dusty dirt road

Safari jeep on dusty dirt road

Kobelco Hydraulic Excavator SK135SR-SK140SRLC-ED160-5 (ANZ 2018) Shop Manual S5YY0033E03 . Today at 3:44 AM. Leonardobmt. 9. Kobelco Hydraulic Excavator SK135SRD-5 Shop Manual S5YY6229E01. Today at 3:44 AM. Leonardobmt. 10. Tigercat X830 LX830 Feller Buncher 83060191 - 83060999 Operator & Service Manual. Today at 2:54 AM. Master. 11. Hot …

Typical Mobile Hydraulic System Schematics

Typical Mobile Hydraulic System Schematics

Intercon Truck of Baltimore|ITEParts.com offices will be closed on 12/23 & 12/24 as well as 12/30 & 12/31. Orders will be processed immediately upon our return.

– Where you from? – UA

– Where you from? – UA

the dump body's safety equipment (the locking control lever, the deadman control, the body prop, the body-uplight and the backup alarm) is not in good working order. NEVER OPERATE A DUMP TRUCK UNLESS ALL OF THESE FEATURES ARE FULLY OPERATIONAL AND ALL OF THE VEHICLE'S SAFETY SYSTEMS (LIGHTS, BRAKES, WIPERS, ETC.) ARE IN GOOD OPERATING ...

Collection Of Dump Trailer Hydraulic Pump Wiring Diagram ...

Collection Of Dump Trailer Hydraulic Pump Wiring Diagram ...

packaging all the truck hydraulic, connector, and related hydraulic system components into a single wetline kit, our system offers the customer the following advantages & benefits: Chelsea Wetline System • High pressure hose with J.I.C. swivel fitting for quick and easy installation

Monarch Hydraulic Pump Wiring Diagram - Atkinsjewelry

Monarch Hydraulic Pump Wiring Diagram - Atkinsjewelry

A system including a hydraulic pump unloaded by a first system relief valve which is piloted by a remotely controlled two position directional valve. A second system relief valve in a hydraulic cylinder exhaust line is also of the pilot operated type. A manually operable valve in the truck cab pilots the second system relief valve to provide the operator precise manual control of cylinder ...

KGM Hydraulic: Hydraulic Hoist for Dump Truck

KGM Hydraulic: Hydraulic Hoist for Dump Truck

With full integration of the hydraulic system and tipping cylinder, we are able to deliver maximum performance. A wide range of gear and piston pump sizes allows us to reach the highest possible oil ow for every type of truck, gearbox fl and PTO. And a full range of oil tanks allows optimal size and oil volume at low weight.

Knuckleboom Crane: Hydraulic system! - Kustoms by Kent

Knuckleboom Crane: Hydraulic system! - Kustoms by Kent

Dump Trucks. A dump truck isn't much more complicated than the log splitter we saw previously. Dump trucks typically have one cylinder or a pair of cylinders that lift the bed. The only unique thing about these cylinders is that they often telescope, giving them a very long range of motion. Advertisement. 1 ….

Workers without age limit

Workers without age limit

Total Truck Parts, Inc. Typical Mobile Hydraulic System Schematics. Dump Truck and Trailer Installations. 2 Line Dump. 3 Line Dump. Other Trailer Installations. Combo II Kit. Ejector Trailer. Live Floor.

Classic Refuse Trucks GAR WOOD

Classic Refuse Trucks GAR WOOD

ITE Parts, Inc. Intercon Truck Equipment 1200 Pauls Lane Joppa, MD 21085 Tel: 410.679.4900 Tel: 1.800.673.2545 Fax: 410.679.3116

Leroy's Power Steering Hydraulic Dump Bed Conversion - Do ...

Leroy's Power Steering Hydraulic Dump Bed Conversion - Do ...

September 7, 2016 By Mary Gannon. Muncie Power Products Inc.'s line of dump pumps is available in a three-line system option to help prevent the most common dump pump failure of high temperatures resulting from the pump being operated too long in neutral. A three-line system includes a separate line to return hydraulic oil from the cylinder ...

2345606 LINES GROUP-DRAIN -HYDRAULIC SYSTEM - ARTICULATED ...

2345606 LINES GROUP-DRAIN -HYDRAULIC SYSTEM - ARTICULATED ...

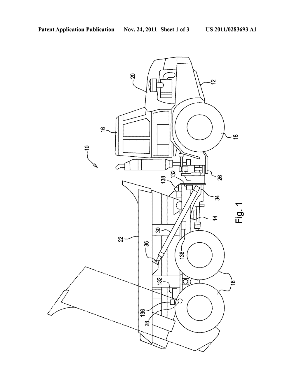
2 . Dump Truck C102 . 2 Line Hydraulic System . PTO . Hydraulic Tank . Valve . PTO . HOIST . AUX . UP . DOWN . ON . OFF . PUMP . C102

82 UNIT 2 QUIZ 1 HYDRAULIC SYSTEM - HydraulicSystem

82 UNIT 2 QUIZ 1 HYDRAULIC SYSTEM - HydraulicSystem

HYDRAULIC SYSTEM FOR DUMP TRUCKS Filed Jan. 7, 1960 4 Sheets-Sheet 4 INVENTORH FRED BlszAN-rz q1/ARTHUR H. RUTH A Tfoxzugvs United States Patent O 3,094,359 HYDRAULIC SYSTEM FOR DUMP TRUCKS Fred Biszantz and Arthur H. Ruth, Galion, Ohio, assignors to Hercules Galion Products Inc., a corporation of Delaware Filed Jan. 7, 196i), Ser. No. 1,123 2 Claims.

Dump Bed Wiring Diagram | schematic and wiring diagram

Dump Bed Wiring Diagram | schematic and wiring diagram

Truck-mounted hydraulic systems must be properly spec'd and integrated with the truck's engine, transmission and PTO. This will ensure that the equipment has the necessary hydraulic flow and pressure to operate correctly and most efficiently. The most common truck-mounted equipment is the dump truck.

Hydraulic Dump Wiring Diagram - Wiring Diagram

Hydraulic Dump Wiring Diagram - Wiring Diagram

Diagram A-2 Diagram A-3 Fluid Recommendations KTI recommends using a premium hydraulic oil to ensure optimum performance and system life. Select oil that has anti-wear properties, rust and oxidation inhibitors, foam inhibitors and good stability. Examples of premium grade hydraulic oils: Chevron Rando HDZ, Mobil DTE 10, DTE 20

Happybuy Hydraulic Pump Dc Wiring Diagram

Happybuy Hydraulic Pump Dc Wiring Diagram

Hydraulic System (Steering & Body) 164 43.3 Engine Crankcase 34 9 Cooling System 48.8 12.9 Transmission (inc filters and cooler) 50.2 13.3 Differential - Front & Rear (each) 28.8 7.6 Differential - Centre 31 8.2 Planetaries - (each) 8.5 2.2 Brake Cooling System - - DEF System* 38 10 *only applicable on Tier 4 Final / Stage 4 CAPACITIES

Pin on Trailer

Pin on Trailer

Relief Setting for Increased Lifting Power on A port Application: for Dump Truck, Unloading, Crane, Lifting, etc. Directions for use: According to hydraulic principle diagrams, with clean connecting hydraulic power unit and oil cylinder tubing According to the motor and the power of the electromagnetic valve marked characteristics( ac, dc ...

Patent US4202175 - Hydraulic control system for a dump ...

Patent US4202175 - Hydraulic control system for a dump ...

Hydraulic Fluid moved into the system is supplied from the hydraulic reservoir (tank). Fluid displaced from the system flows back into the reservoir before being re-circulated through the system. The reservoir is designed to supply an adequate amount of fluid to operate the hydraulic system and to

797F Off-Highway Truck Steering System: Hydraulic Schematic

797F Off-Highway Truck Steering System: Hydraulic Schematic

challenge so there is enough lift to tilt and dump the load. To accomplish this, the lift will have to accommodate the cylinder to transfer its force through the arms. The calculations predicted that a .5 gpm hydraulic pump would take 62 seconds to lift 500 pounds, dump and lower the load. Initial tests indicated a tilt goes to 39 degrees.

Patent EP0562122B1 - Hydraulic driving device for steering ...

Patent EP0562122B1 - Hydraulic driving device for steering ...

Hydraulic parts for fixing and maintaining the hydraulics of Fisher snow plows can be found in the hydraulic section. Fisher mount kits are available for most makes and models, use the eMatch to find the right mount for your vehicle. Shoe kits are available for all models of Fisher plows. And don’t forget our detailed Fisher plow part reference section for finding those answers.

797F Off-Highway Truck Steering System: Hydraulic Schematic

797F Off-Highway Truck Steering System: Hydraulic Schematic

Dump truck hydraulic system for medium heavy duty and semi ...

Dump truck hydraulic system for medium heavy duty and semi ...

Mitsubishi Minicab: U42T Dump Option: Hydraulic Hose ...

Mitsubishi Minicab: U42T Dump Option: Hydraulic Hose ...

the components of concrete mixer trucks_supplier and ...

the components of concrete mixer trucks_supplier and ...

Typical Mobile Hydraulic System Schematics

Typical Mobile Hydraulic System Schematics

Patent US20070200388 - On-Board Auxiliary Hydraulic ...

Patent US20070200388 - On-Board Auxiliary Hydraulic ...

Prevent the Most Common Dump Pump Failure

Prevent the Most Common Dump Pump Failure

PTO Pump Wet Kits for Trucks - ProDrive PTO & Hydraulics

PTO Pump Wet Kits for Trucks - ProDrive PTO & Hydraulics

KRM-183 Hydraulic cylinder ,dump truck

KRM-183 Hydraulic cylinder ,dump truck

Typical Mobile Hydraulic System Schematics

Typical Mobile Hydraulic System Schematics

Typical Mobile Hydraulic System Schematics

Typical Mobile Hydraulic System Schematics

TRACTOR-HYDRAULIC HOIST LINES - ARTICULATED DUMP TRUCK ...

TRACTOR-HYDRAULIC HOIST LINES - ARTICULATED DUMP TRUCK ...

side dump trailer hydraulic operation - Yahoo Image Search ...

side dump trailer hydraulic operation - Yahoo Image Search ...

770G and 772G Off-Highway Truck Hydraulic System

770G and 772G Off-Highway Truck Hydraulic System

below shows the dump truck hydraulic components | Download ...

below shows the dump truck hydraulic components | Download ...

0 Response to "39 dump truck hydraulic system diagram"

Post a Comment

Iklan Atas Artikel

Iklan Tengah Artikel 1

Iklan Tengah Artikel 2

Iklan Bawah Artikel