Iklan 300x250

39 scotts spreader parts diagram

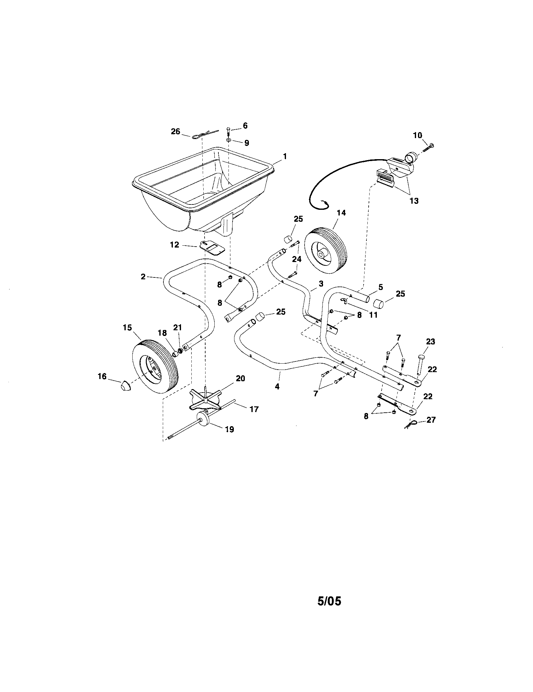
PDF Scotts Broadcast Spreader Parts Page 2 of scotts spreader 1000 user parts diagram model 2000 sr spreader parts spinner disk 40151 scotts pro edgeguard broadcast spreader operator s manual broadcast spreader. Earthway Estate Residential Broadcast Spreader 2050p. 25 Scotts Spreader Parts Diagram Wiring List. Free Scotts Spreader User Manuals - ManualsOnline.com Scotts Spreader CD36C. 90984 COMMERCIAL DROP SPREADER OWNER'S MANUAL CD36C. Pages: 4. See Prices. Showing Products 1 - 4 of 4.

What Companies Sell Parts for a Scotts Spreader? Scotts spreader parts can be found online from agricultural part supply stores such as BBiSpreaders.com or by visiting Scotts.com, selecting the Spreaders, Mowers and Tools link on the left side of the homepage and clicking the How To Find Parts for a Scotts Spreader link. Users also can enter Scotts Spreader Parts into the search text box to go directly to the list from the homepage.

Scotts spreader parts diagram

Scotts spreader parts diagram

Scotts Fertilizer Spreader Parts List - bestcfil 25 Scotts Spreader Parts Diagram Wiring List. Parts Diagram Model 2000 Sr. 2030p Plus Parts List Co Chart 2 Earthway 2030pplus Estate. Blog Archives Xsonartb. Scotts Turf Builder Edgeguard Dlx Spreader. Parts List Frame L Egs Handle Scotts. PDF Scotts Broadcast Spreader Parts Vicon ps600s fertilizer spreader bearing scotts elite spreader spreader parts keystock 19002 heavy hauler trailers truck scotts turf builder edgeguard dlx spreader earthway commercial 100lb 45kg broadcast spreader 2170 25 scotts spreader parts diagram wiring list. PDF Scotts 3000 Spreader Parts Manual - actualusa.com Company introduced REPAIR PARTS FOR BROADCAST SPREADER Scotts Speedy Green 1000 Parts List - Documentlib - pdf document tagged with scotts speedy green 1000 parts list. user guide pdf categorized in scotts speedy green 1000 parts 3000 owners manual AGWAY SPREADER If you are searching for the ebook Scotts 3000 spreader parts manual in pdf form ...

Scotts spreader parts diagram. Scotts Drop Spreader Parts - Diagram Niche Ideas 2014 Dodge Avenger Fuse Box Diagram; Kuhn Tedder Parts; Mach 460 Wiring Diagram; Seed or fertilizer spreader holds up to 10,000 sq. Air line tubes & connectors. About 0% of these are fertilizer spreaders. Scotts drop spreader provides superior accuracy for consistent greening and complete coverage for your lawn. Amazon.com: Fertilizer Spreader Parts Agri-Fab 85 lb. Tow Broadcast Spreader 45-0530 85 lb. Tow Broadcast Spreader, One Size, Black 4.0 out of 5 stars 3,336 Buyers Products UTVS16 UTV All Purpose Spreader with Mount , black , 33 Inch [PDF] Scotts spreader parts manual - read & download Spreader Parts. Spreader Parts Russo Power carries spread parts for the most common spreader in the landscaping and snow removal industry. We stock over 250,000 parts . Scotts Turf Builder Edge Guard Mini Broadcast Spreader includes patented landscape protection system to prevent off-lawn application. Scotts Fertilizer Spreader Parts List - Best Software Scotts turf builder edgeguard dlx spreader operator s manual 2030p plus parts list co chart 2 earthway 2030pplus estate 25 scotts spreader parts diagram wiring list vicon ps600s fertilizer spreader bearing spreader parts spinner disk 40151 heavy hauler trailers. Share. Tweet. Scotts Spreader Parts Diagram | Tyres2c.

Spreaders - Scotts Top Pick. Scotts® Wizz TM Spreader. Starting at $25.99. Scotts® Turf Builder® Classic Drop Spreader. Scotts® Elite Spreader. Starting at $127.99. Scotts® Easy Hand-Held Broadcast Spreader. Scotts® Handy Green® II Hand-Held Broadcast Spreader. Scotts® Pro Edgeguard® Broadcast Spreader. Scotts Speedygreen 1000 Parts | UMD College of Information ... Scotts speedygreen 1000 rotary spreader manual If this is your first scotts speedygreen 1000 parts visit, be sure to check out the FAQ by clicking the link above. You may have to register before you can post: click the register link above to proceed. scotts speedy green 1000 calibration - stick.ischool.umd.edu PDF Scotts Broadcast Spreader Parts - allenbrothers.org Page 2 of scotts spreader 1000 user parts diagram model 2000 sr spreader parts spinner disk 40151 scotts pro edgeguard broadcast spreader operator s manual broadcast spreader. Earthway Estate Residential Broadcast Spreader 2050p. 25 Scotts Spreader Parts Diagram Wiring List. Scotts Lawn & Garden Tractors Parts with Diagrams - PartsTree Scotts Lawn & Garden Tractors Parts Lookup & Diagrams Scotts Lawn & Garden Tractors Parts Lookup & Diagrams Scotts Lawn & Garden Tractors ( 78 Models ) 30577x31A - Scotts 30" Lawn Tractor (1998) 38702x7A - Scotts 38" Lawn Tractor (1996) 38702x7B - Scotts 38" Lawn Tractor (1996)

Scotts Standard Broadcast Spreader Parts - Diagram Niche Ideas Scotts turf builder edgeguard mini spreader 25 scotts spreader parts diagram wiring list hotshot38170man pub read only scotts elite spreader agri fab 45 02101 101 farming parts sears direct scotts turf builder edgeguard mini broadcast spreader. Scotts 75901 pro edgeguard broadcast spreader available for you.any time you are looking for obtain ... PDF SR2000 Assembly, Use & Care - Collier Turf Care Ltd Ordering Parts See diagram for assistance in identifying specific parts. For parts orders, call 1-614-559-2705. (Note: Sales of parts for Scotts spreaders are handled by PSB Company.) IMPORTANT: When ordering replacement parts, always provide the following information: 1) Part number (DO NOT use key numbers when ordering parts. Spreader Replacement Parts - Parts for most brands of ... BBI offers spreader replacement parts and has an exceptionally knowledgeable staff that can help you find the parts you need for MOST BRANDS of Agricultural Spreaders quickly. Call Richard Tanner at 800-282-3570 ex 234. We have STOCKING DEALERS throughout the country so you can pick up what you need locally - or we ship daily to meet your needs! How To Fix A Scotts Broadcast Spreader? [A Complete Guide] How To Repair A Scotts Rotary Spreader? (4 Steps To Fix) Follow these 4 steps to strip down your Scotts EasyGreen Rotary spreader for servicing and replace any worn parts: Step 1: Replace The Cable. Remove the micrometer from the Scotts rotary spreader mechanism. On the hopper and from the housing is the control lever for turning on and off.

How to Use a Fertilizer Spreader and Seed Spreader (DIY)

How to Use a Fertilizer Spreader and Seed Spreader (DIY)

PDF Scotts Broadcast Spreader Parts Scotts Spreader Parts Diagram | Tyres2c Scotts Turf Builder EdgeGuard Mini Broadcast Spreader (Holds up to 5,000 sq ft) 4.5 out of 5 stars 101 More Buying Choices $63.46 (1 new offer) Amazon.com: scotts spreader parts Spare parts scotts spreader, Spreader Garden Tools in Home & Garden on Bizrate.co.uk: Compare prices on Spare parts scotts ...

OPERATOR'S MANUAL

OPERATOR'S MANUAL

Amazon.com: scotts spreader parts 88. Get it as soon as Mon, Mar 28. FREE Shipping on orders over $25 shipped by Amazon. Amazon's Choice. for scotts spreader parts. Agri-Fab 49447 Control Cable. Assembly Same As 47999. 4.2 out of 5 stars. 203.

How To Fix A Spreader That Won't Turn - Scotts Edgeguard Spreader Repair

How To Fix A Spreader That Won't Turn - Scotts Edgeguard Spreader Repair

Scotts® - The Official UK Site - Love The Garden The Scotts spreader range will help you grow a greener, thicker, more beautiful lawn which you can enjoy every day. After all, a healthy, green lawn gives back to you in so many ways - so make sure you treat it right! Scotts® EasyGreen™ Rotary Spreader. Buy now.

10 Best Broadcast Spreaders 2020 [Buying Guide] – Geekwrapped

10 Best Broadcast Spreaders 2020 [Buying Guide] – Geekwrapped

Scotts Parts by Equipment | PartsTree Your Scotts equipment has a factory model number and serial number on a sticker-like label or metallic tag attached to the unit in a place away from moving parts (usually near the handle, under the seat, or on the side of the unit). The best way to buy repair parts for your Scotts is to begin by searching for your Scotts model number on PartsTree and use the OEM Scotts parts diagrams to find ...

Buy Scotts Elite Spreader Online in UK. 172647784

Buy Scotts Elite Spreader Online in UK. 172647784

Scotts Broadcast Spreader Manual - CORTEQ Sta-green broadcast spreader manual - Co-production. PDF OWNER'S MANUAL - FIMCO Industries. Scotts® Turf Builder® Edgeguard® Mini Broadcast Spreader. QUICK START GUIDE Scotts Turf Builder EdgeGuard DLX Broadcast. Scotts Standard Broadcast Spreader Parts - Diagram Niche Ideas. Scotts Speedygreen 1000 Rotary Spreader Manual | UMD. A ...

OPERATOR'S MANUAL

OPERATOR'S MANUAL

Scotts offers spreader replacement parts - aroundtheyard ... Scotts offers spreader replacement parts. Post. by Green » November 30th, 2017, 10:40 pm. My Scotts spreader (Edgeguard Pro) broke recently. Today, I contacted them, and they're sending new parts. It's great that they are doing that. But, it's a fragile design. You really have to be careful what types of materials you use in it.

OWNER'S MANUAL

OWNER'S MANUAL

scotts pro edgeguard broadcast spreader parts | Chopin ... Scotts Spreader Parts Diagram. Holds up to 20,000 sq. This is for most accurate spreader ever. To see if this part is compatible with your Spreader, please see the "Model Cross Reference List" below. Scotts Pro-Edgeguard Broadcast Spreader with cover $25 (bal > Ellicott City) hide this posting restore restore this posting. 2.5 cu. 0 bids. Save ...

Seed Spreaders – InGreen LLC

Seed Spreaders – InGreen LLC

Spreader Parts & Repair Help - Fix.com Popular Spreader Parts. $ 3.12. In Stock. Add to cart. Nut, Flange Lock, 3/8-16, Grf. Fix Number FIX9095080. Manufacturer Part Number 712-04065. This lock nut is used for lawn and garden equipment, and is sold individually. This nut resists loosening when it is correctly threaded onto a bolt in your tool.

The Best Fertilizer Spreaders of 2022 - Tested by Bob Vila

The Best Fertilizer Spreaders of 2022 - Tested by Bob Vila

scott s spreader parts Unsolved Problems (with Pictures ... Scotts spreader + parts diagram. Read full answer. Be the first to answer Jun 08, 2012 • Garden. 0 answers. Are spare parts available for scotts easy green rotary spreader. Read full answer. Be the first to answer Apr 03, 2012 • Garden. 0 answers. Parts list scotts rotary spreader.

Husqvarna 70 LP Broadcast Spreader (966043502) (2009-02 ...

Husqvarna 70 LP Broadcast Spreader (966043502) (2009-02 ...

PDF Scotts Broadcast Spreader Parts Scotts Spreader Parts Diagram | Tyres2c Scotts Turf Builder EdgeGuard Mini Broadcast Spreader (Holds up to 5,000 sq ft) 4.5 out of 5 stars 101 More Buying Choices $63.46 (1 new offer) Amazon.com: scotts spreader parts

BS0001-85 20111024 revised.cdr | Manualzz

BS0001-85 20111024 revised.cdr | Manualzz

Scotts Turf Builder EdgeGuard DLX - Spreader - Scotts Spread product efficiently and effectively with Scotts® Turf Builder® EdgeGuard® DLX Broadcast Spreader. Equipped with Scotts® exclusive EdgeGuard® Technology, you can trust that the product you spread will be spread accurately. You can even control the panel's precision rate setting to deliver more accurate coverage on up to 15,000 sq. ft.

EvenGreen Drop Spreader - 129197

EvenGreen Drop Spreader - 129197

PDF Scotts 3000 Spreader Parts Manual - actualusa.com Company introduced REPAIR PARTS FOR BROADCAST SPREADER Scotts Speedy Green 1000 Parts List - Documentlib - pdf document tagged with scotts speedy green 1000 parts list. user guide pdf categorized in scotts speedy green 1000 parts 3000 owners manual AGWAY SPREADER If you are searching for the ebook Scotts 3000 spreader parts manual in pdf form ...

Scotts Pro EdgeGuard Broadcast Spreader - Spreader - Scotts

Scotts Pro EdgeGuard Broadcast Spreader - Spreader - Scotts

PDF Scotts Broadcast Spreader Parts Vicon ps600s fertilizer spreader bearing scotts elite spreader spreader parts keystock 19002 heavy hauler trailers truck scotts turf builder edgeguard dlx spreader earthway commercial 100lb 45kg broadcast spreader 2170 25 scotts spreader parts diagram wiring list.

Agri-Fab 45-03641 Broadcast Spreader | Partswarehouse

Agri-Fab 45-03641 Broadcast Spreader | Partswarehouse

Scotts Fertilizer Spreader Parts List - bestcfil 25 Scotts Spreader Parts Diagram Wiring List. Parts Diagram Model 2000 Sr. 2030p Plus Parts List Co Chart 2 Earthway 2030pplus Estate. Blog Archives Xsonartb. Scotts Turf Builder Edgeguard Dlx Spreader. Parts List Frame L Egs Handle Scotts.

20TON DOUBLE ACTION LOG SPLITTER

20TON DOUBLE ACTION LOG SPLITTER

Sears PartsDirect

Sears PartsDirect

Parts for Lesco Spreader 705699 Shut Off Assembly

Parts for Lesco Spreader 705699 Shut Off Assembly

CHAPIN 81008A Residental Salt and Ice Melt Spreader User ...

CHAPIN 81008A Residental Salt and Ice Melt Spreader User ...

Scotts Drop Spreader The Scotts® Advantage: | Manualzz

Scotts Drop Spreader The Scotts® Advantage: | Manualzz

CHAPIN 82400B Professional Rock Salt Spreader User Guide ...

CHAPIN 82400B Professional Rock Salt Spreader User Guide ...

Husqvarna BS 85 Broadcast Spreader (45-03151) (2005-06) Parts ...

Husqvarna BS 85 Broadcast Spreader (45-03151) (2005-06) Parts ...

SCOTTS TURF BUILDER EDGEGUARD MINI QUICK START MANUAL Pdf ...

SCOTTS TURF BUILDER EDGEGUARD MINI QUICK START MANUAL Pdf ...

Parts for Lesco Spreader 705699

Parts for Lesco Spreader 705699

SOLVED: I have a speedy green 1000 and the drop chute will ...

SOLVED: I have a speedy green 1000 and the drop chute will ...

Scotts Speedy Green 1000 Replacement Parts | CINEMAS 93

Scotts Speedy Green 1000 Replacement Parts | CINEMAS 93

Scotts Standard Broadcast Spreader | Property Room

Scotts Standard Broadcast Spreader | Property Room

Technical Support | Spreader Parts Diagrams

Technical Support | Spreader Parts Diagrams

Scotts Speedy Green 1000 Replacement Parts | CINEMAS 93

Scotts Speedy Green 1000 Replacement Parts | CINEMAS 93

How To Repair Fix Fertilizer Spreader - Fertilizer Spreader Not Working,  Broken

How To Repair Fix Fertilizer Spreader - Fertilizer Spreader Not Working, Broken

How to Care for a Bahiagrass Lawn - Dengarden

How to Care for a Bahiagrass Lawn - Dengarden

Intermediate Hopper

Intermediate Hopper

EarthWay 90365 Ice Melt Broadcast Spreader Parts - ProPartsDirect

EarthWay 90365 Ice Melt Broadcast Spreader Parts - ProPartsDirect

Amazon.com : Scotts Turf Builder EdgeGuard Mini Broadcast ...

Amazon.com : Scotts Turf Builder EdgeGuard Mini Broadcast ...

Scotts Spreader 3000 User Guide | ManualsOnline.com

Scotts Spreader 3000 User Guide | ManualsOnline.com

Skip to main content eBay Home 0 Cancel {

Skip to main content eBay Home 0 Cancel {"modules ...

The wheels on my Scott's broadcast spreader are stuck. How ...

The wheels on my Scott's broadcast spreader are stuck. How ...

Reviews for Scotts 15,000 sq. ft. Turf Builder EdgeGuard DLX ...

Reviews for Scotts 15,000 sq. ft. Turf Builder EdgeGuard DLX ...

Lesco 020092 Parts List And Instructions Manual | Manualzz

Lesco 020092 Parts List And Instructions Manual | Manualzz

CHAPIN 8000A Residential Lawn Spreader Instruction Manual ...

CHAPIN 8000A Residential Lawn Spreader Instruction Manual ...

0 Response to "39 scotts spreader parts diagram"

Post a Comment

Iklan Atas Artikel

Iklan Tengah Artikel 1

Iklan Tengah Artikel 2

Iklan Bawah Artikel